41+ Craftsman Airless Paint Sprayer Manual PNG

41+ Craftsman Airless Paint Sprayer Manual PNG. Airless paint sprayer 650w cleaning manual this cleaning process must be followed immediately after use to prevent paint from drying inside the pump and hose. Manual 10 pages 421.1 kb.

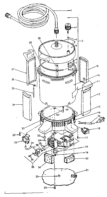
Craftsman model 165155402 airless paint sprayer genuine parts
Craftsman model 165155402 airless paint sprayer genuine parts from c.searspartsdirect.com
This post highlights the top 10 best ones you can use for spray painting. Read and follow this instruction manual carefully for proper operating instructions, and safety information. Quality tools & low prices.

You can examine craftsman 919.716171 manuals and user guides in pdf.

Pdf have you read the craftsman 919.155150 manuals, presented on guidessimo.com, but still. We’ll always be your reliable partner / supplier, for the airless painting equipments. Craftsman 919.155150 specifications category of device: The usage of the airless paint sprayer is to simplify your painting jobs.